Dezentrale Energie Versorgung

Analyse
Zum Stand des Jahres 2021 ist die Klimakrise nur noch von Ignoranten zu leugnen. Alle Prognosen sind bislang eingetreten und haben die Politik weltweit zum Handeln veranlasst, indem Ziele definiert wurden, die jedoch nicht bindend sind. Das heißt, am Amazonas und am Kongo und in Indonesien wird weiter der Regenwald ungebremst abgeholzt. In China, Indien und anderen Staaten werden zur Gewinnung elektrischer Energie in großem Stil weiter neue Kohlekraftwerke errichtet, obwohl die Möglichkeit besteht, regenerative Energie mit überschaubarem Aufwand zu nutzen.
Die politischen Ziele zur Rettung des Klimas sind auch im entwickelten Europa mit der konventionellen Technologie in der geplanten kurzen Zeit kaum zu realisieren.

Die bekannt notwendige und seit Jahren nur schleppend betriebene Erweiterung des Versorgungsnetzes ist erst zu einem Zehntel fertiggestellt. 

Selbst wenn die neue Stromtrasse fertiggestellt sein wird, ist sie anfällig für ernste Störungen, die das gesamte Netz lahmlegen könnten.
Die zentral gesteuerte Versorgung der Bundesrepublik Deutschland und Mitteleuropas stand schon mehrfach in der Vergangenheit vor dem Zusammenbruch. Die Hauptursache der aktuellen Anfälligkeit scheint darin zu liegen, dass nach wie vor an den hochkomplexen Versorgungsstrukturen festgehalten wird. 

Lösungsvorschlag
Als Ausweg bietet sich an, die Versorgung mit elektrischer Energie dezentral zu betreiben.

Mit einer Vielzahl hydraulischer Hochdruckspeicher – neben den vorhandenen Einrichtungen – könnte eine Infrastruktur von autonomen  Versorgungsstellen geschaffen werden, die leicht trennbar miteinander verbunden werden müssten.

Bricht wegen lokaler Überlastung das überregionale Netz zusammen, so bleiben die Einzelbereiche selbständig und können die Versorgung in der Fläche weiter sicherstellen. Dies gilt besonders auch für Industrieanlagen, die mit entsprechend groß dimensionierten Speichern ausgestattet werden müssten.

Hydraulische Hochdruckspeicher sind einfach und robust aufgebaut.

Eine große Masse (Gewicht) wird von hydraulischen Stempeln, die untereinander durch eine Ringleitung verbunden sind, angehoben. Eine oder mehrere Hydraulikpumpen speisen die Hydraulikzylinder. Weil Hydrauliköl praktisch nicht komprimierbar ist, werden durch die Ringleitung alle Zylinder gleichzeitig gespeist.  Durch Entnahme von Drucköl aus der Ringleitung kann ein Hydraulikmotor betrieben werden, der einen Generator zur Stromerzeugung antreibt. Der Strom wird direkt Verbrauchern zugeführt oder in das lokale Netz eingespeist. Die Energie für den Betrieb der Hydraulikpumpen sollte aus regenerativen Quellen wie PV oder Windenergie gewonnen werden.

Die vorgeschlagenen hydraulischen Speicher könnten direkt neben vorhandenen Windenergieanlagen aufgestellt werden, so dass diese ununterbrochen laufen könnten, um die vorhandene Energie optimal zu nutzen. Auf diese Art wären die Anlagen sogar grundlastfähig. Es bedarf dafür keiner langwierigen Genehmigungsverfahren – sofern dies politisch gewollt ist.

Mehr erfahren

Es wäre möglich, Energie in Größenordnungen von Gigawatt zu speichern. Dadurch könnte die Versorgung zusätzlich geglättet und gleichmäßig gemacht werden, d. h., Windspitzen wären direkt nutzbar, auch wenn der momentane Bedarf nicht dem Angebot entspricht. Aktuell müssen WEA bei Starkwind abgeschaltet werden oder die anfallende Überschussenergie wird unter Wert verkauft.

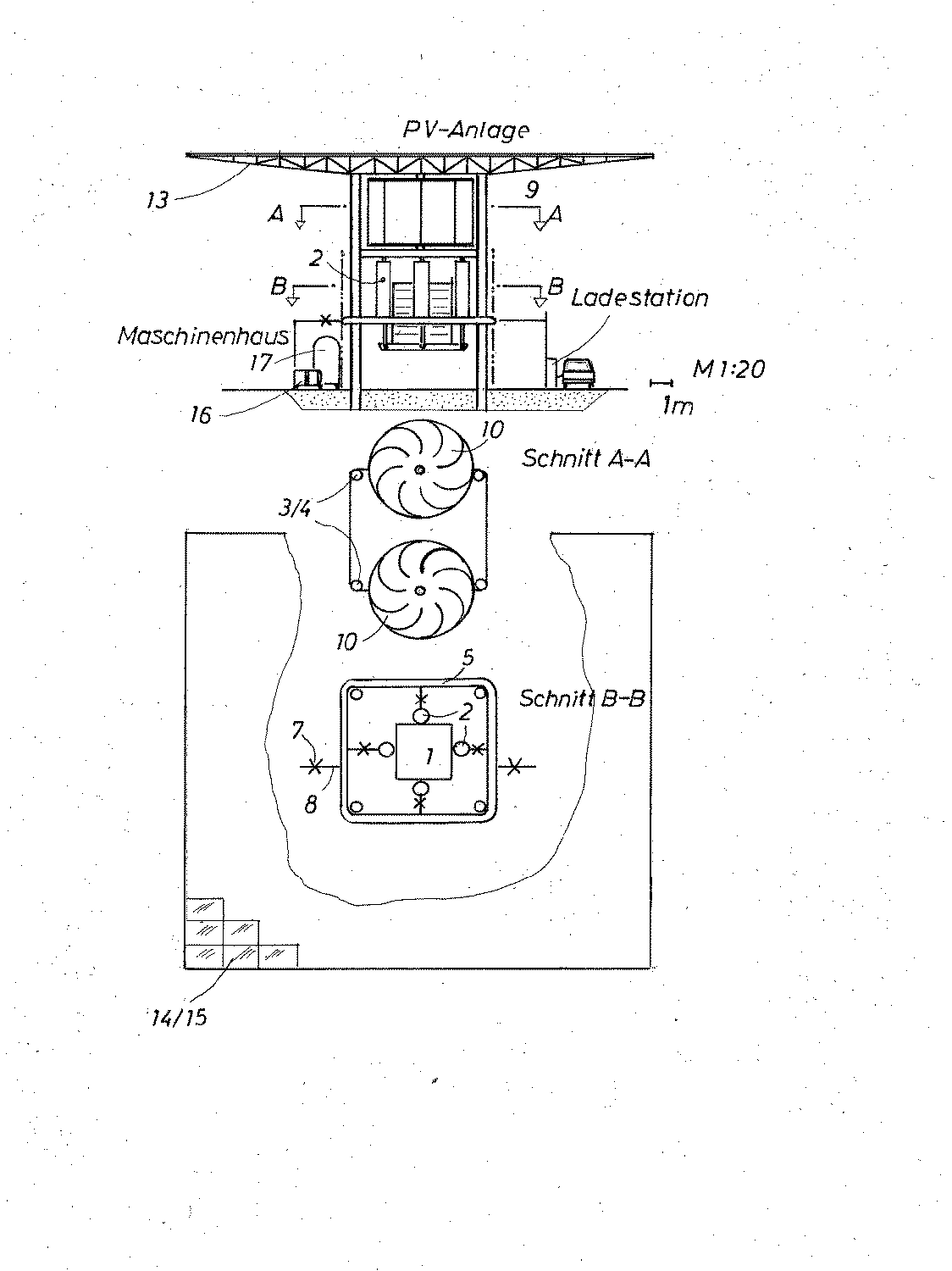
Als alleinstehender, selbstversorgender Speicher kann die „Autonome E-Tankstelle“ eingesetzt werden. Die autonome E‑Tankstelle wird durch eine PV-Anlage auf dem Dach und eine darunter liegende Windenergieanlage (Windturbine mit vertikaler Achse) permanent mit Strom versorgt. Zusätzlich kann extern eingespeister „grüner“ Strom aus umliegenden Anlagen den hydraulischen Speicher versorgen.

Die E‑Tankstelle ist grundsätzlich vorgesehen für die Versorgung von Elektrofahrzeugen. Gleichzeitig können aber auch umliegende Wirtschaftsgebäude mit Energie versorgt werden.

Der hydraulische E‑Speicher kann an den steigenden Bedarf angepasst werden, indem zusätzliche Gewichte aufgelegt werden. Oder auch durch Hinzufügen weiterer Hydraulikzylinder.

Im ersten Schritt wären alle Autobahntankstellen und Raststätten mit einer E‑Tankstelle auf dem bestehenden Gelände auszurüsten. Dadurch wäre zu gewährleisten, dass ausschließlich „grüner“ Strom getankt werden kann.

Ein wichtiges Argument für eine breitere Nutzung von E‑Fahrzeugen. 

Im zweiten Schritt wären kleine Siedlungen, Dörfer oder Kleinstädte auszurüsten. So dass am Ende ein Netz von unabhängigen Erzeugern entsteht, die sich jeweils ergänzen und ihren Überschussstrom in das vorhandene – durch die Dezentralisierung entlastete – einspeisen können für die Nutzung durch Großverbraucher.

Die hydraulischen Hochdruckspeicher sollten in drei Standardstufen angeboten werden. Mit Gewichten von 10 t, 100 t und 1000 t für die angepasste Versorgung von Einzelhäusern, Gehöften und Einkaufsmärkten und die regionale Versorgung.

Der Platzbedarf für eine autonome E‑Tankstelle ist nicht sehr groß und dürfte, besonders bei Autobahn-Raststätten leicht in die vorhandene Infrastruktur integrierbar sein. Durch Überdachung der Parkplätze mit PV wäre in großem Umfang zusätzliche Energie zu gewinnen.

Es bietet sich an, auf den bestehenden Windparks auch geothermische Energie zu erschließen, um die Heizungen der nahe liegenden Siedlungen mit Wärme zu versorgen. Zusätzlich wäre Solarthermie auf Hausdächern einsetzbar.

Die Wärme kann in thermischen Speichern gepuffert werden. Im „Solar Zentrum Mecklenburg-Vorpommern“ ist diese Anwendung im Dauerbetrieb realisiert.
Das gleiche Vorgehen bietet sich an für die Pufferung niedriger Temperaturen im Winter zur sommerlichen Raumkühlung.

Die Vorteile einer dezentralen Energieversorgung sind:     

  • Hohe Versorgungssicherheit bei geringer Ausfall Wahrscheinlichkeit
  • Nutzung schnell verfügbarer konventioneller Technik
  • Kein Verbrauch exotischer Materialien
  • Überschaubare Kosten wegen dezentraler Investitionen
  • Gesellschaftlicher Nutzen durch Beteiligung der regionalen Bevölkerung
  • Bei genossenschaftlicher Organisation kaum Widerstand gegen die Errichtung
  • Breite Eigentümer-Struktur
  • Schaffung von Arbeitsplätzen durch Beschäftigung regionaler Anbieter
  • Große Exportchancen einfacher robuster Geräte in kaum entwickelte Länder

Stade, den 02.06.2022
Joachim Schönwälder

Mehr erfahren