Mechanisce EnergiespeiHer
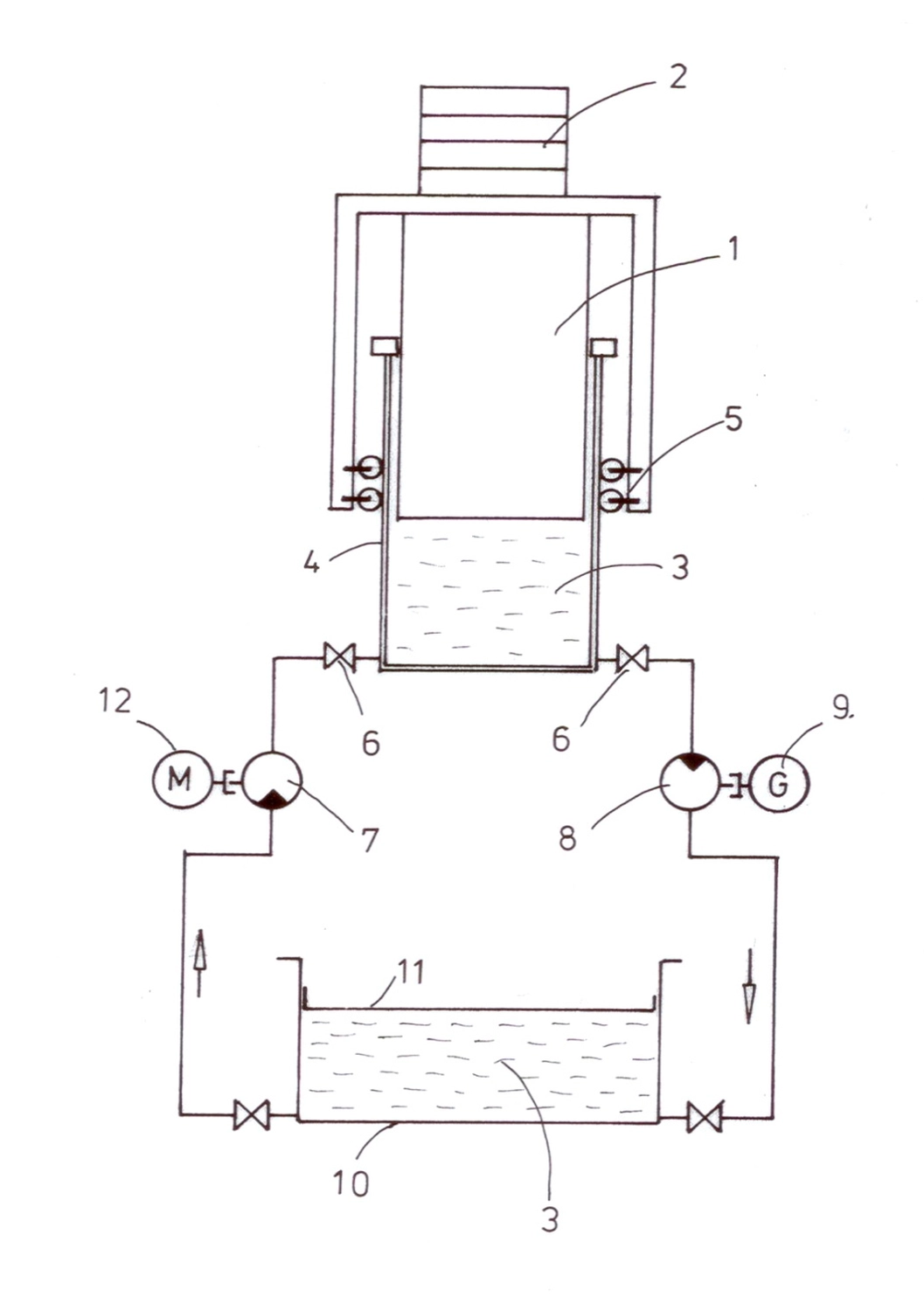
Die Schächte stillgelegter Bergwerke eignen sich sehr gut, um große Gewichte mit erneuerbarer elektrischer Energie in die Höhe zu transportieren, um sie bei Spitzenbedarf herabfallen zu lassen und dabei einen Generator anzutreiben.
Die vorhandene Infrastruktur ist lediglich um einige Zusatzbauten zu ergänzen. Die Stromkosten dürften gering sein bei Nutzung von billigem Nachtstrom und/oder aus erneuerbaren Quellen.
Gerade im Ruhrgebiet mit seiner ausgeprägten Industrie und der großen Anzahl stillgelegter Zechen dürfte sich die Anwendung von Fallgewichten für Spitzenbedarfe lohnen.












